REF:基于 AGV 底盘与 SCARA 机械臂的数控车削自动装卸系统设计
01
总述
AGV 底盘的设计集中在定位精度和移动效率上,要求 底盘顺畅地移动到目标位置, SCARA 机械手的设计集中在夹取精度、位置控制及运动解算上,复合机器人需要根据目标位置计算出最优的移动路径和姿态 , 这要求高效的算法来优化运动轨迹 , 减少装卸时间 , 同时确保操作的高精度。

02
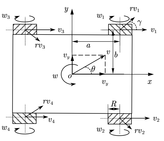
AGV 移动平台
小车平台采用麦克拉姆轮和闭环控制步进电机,在平面内的移动距离信息和陀螺仪检测 Z 轴的旋转角度, 实现全场定位, 采用位置式 PID 控制策略来控制小车姿态与位置


03
SCARA机械手
用伺服电机作为机械臂的驱动器,方便对机械臂状态准确读取和调试 , 通过读取电机的角度信息来获取机械臂的当前位置, 将电机角度转换为机械臂在空间中的位置和姿态

当前复合机器人的主要优点包括: