
近日,证监会披露了紫光展锐IPO上市辅导工作进展情况报告(第三期)显示,作为国内领先5G通信基带芯片及智能手机SoC芯片龙头,紫光展锐有望将加速完成IPO辅导验收,冲刺国产手机芯片第一股。
根据辅导报告显示,本期紫光展锐IPO辅导时间为2026年1月至2026年3月,辅导机构是国泰海通、中信建投。
辅导期内,紫光展锐已按照相关监管要求建立了较为完善的管理体系和内控制度;财务会计、收入确认、关联交易、同业竞争核查;股权历史沿革、股东资质(国家大基金、英特尔等)的梳理;并对照科创板上市五大条件逐项完成核查验证;IPO申报招股书框架、申报底稿已搭建;一旦验收通过,猜测紫光展锐可能将正式提交科创板 IPO申报。


公开资料显示,紫光展锐成立于2013年8月26日,是我国集成电路设计业的领军企业,全面掌握2G/3G/4G/5G/6G、Wi-Fi、蓝牙、卫星通信等全场景通信技术和智能SoC处理器技术。
作为一家拥有20多年历史的通信芯片厂商,展锐是目前全球仅有的拥有完整2/3/4/5G基带芯片技术的6家厂商之一(包括高通、联发科、展锐、华为、三星、苹果)。而除了基带技术能力之外,展锐还可提供高性能SoC处理器、射频芯片、射频前端、电源管理、音频处理、无线连接、多媒体芯片等周边套片设计能力。据了解,目前紫光展锐员工总数已经达到了5000多人,其中超过85%是研发人员。
目前,紫光展锐在全球设有19大研发中心、8大销售和客户支持中心,向全球客户及合作伙伴提供移动通信芯片、物联网芯片、智能座舱芯片、智能显示芯片、Wi-Fi芯片等高价值产品与服务,帮助全球数十亿用户实现智慧连接,赋能电力、采矿、医疗、光伏、车联网、城市治理等千行百业实现数字化升级。
数据显示,2024年紫光展锐芯片出货超过16亿颗,其中5G芯片销量同比增长82%。目前搭载展锐5G芯片的百余款智能终端已进入欧洲、拉美、东南亚、南亚等市场。截至2025年3月份,紫光展锐已经累计在全球116个国家实施了5G场测,5G智能手机规模出货至85个国家,通过了56家运营商认证。
根据市场研究机构Counterpoint Research最新发布的研究报告显示,在2025年的全球智能手机SoC市场,联发科以34.4%的出货量份额位居第一,高通(25.1%)、苹果(18.1%)、紫光展锐(12.1%)和三星(5.7%)紧随其后。预计2026年紫光展锐的份额约为11.2%。

财务数据方面,根据紫光展锐此前披露的信息显示,2022年紫光展锐营收达到了140亿元,同比增长20%;虽然2023年全球智能手机市场出货量同比下降了3.2%,但紫光展锐的营收仍突破了130亿元的规模;2024年紫光展锐销售收入145亿元,同比增长约11%。
值得注意的是,在2022年下半年新紫光集团重组完成之后,便开始着手解决阻碍紫光展锐上市的历史遗留问题,加速推动紫光展锐的IPO上市进程。
2024年6月,紫光展锐董事会已表决通过新一轮股权融资,本轮融资金额超过40亿元,投资方包括京沪两地国资平台,以及工银资本管理有限公司、交银金融资产投资有限公司、人保资本股权投资有限公司、中信建投、国泰君安、弘毅投资等金融机构。

2024年9月,紫光展锐董事长马道杰透露,紫光展锐耗时一年多的股权融资于近日圆满完成,40亿股权融资资金已经全部到账。有消息称,当时紫光展锐的估值已经达到了660亿元。
随后在2024年11月,紫光展锐在全球合作伙伴大会上正式宣布,在此前已经完成了40亿元股权融资的基础上,近期将再完成近20亿元股权增资,增资方正是当时刚刚回归的紫光展锐创始人、董事、首席战略顾问陈大同旗下的元禾璞华。在该轮股权融资完成后,紫光展锐的投后估值可能已超700亿元。
紫光展锐董事长马道杰表示:“作为国内最早从事手机通信芯片研发的企业之一,新紫光集团旗下的紫光展锐正处于跨越式发展的重要窗口期。在大股东和各级政府等多方支持下,本轮股权融资落地将为公司日常经营发展以及IPO等诸多关键事项注入新动能。”
2025年3月31日,紫光展锐正式完成股改工商变更,公司名称由“紫光展锐(上海)科技有限公司”变更为“紫光展锐(上海)科技股份有限公司”,公司注册资本约55.32亿元。
2025年6月27日,紫光展锐正式在上海证监局办理辅导备案,拟在科创板首次公开发行股票并上市。
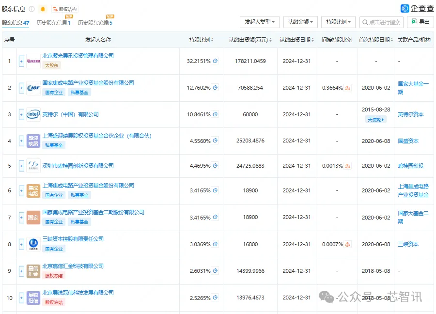
从最新的股权结构来看,目前紫光展锐的控股股东为新紫光集团旗下北京紫光展讯投资管理有限公司,持股32.2151%;第二大股东为国家集成电路产业投资基金股份有限公司(又称“大基金”),持股12.7602%;第三大股东为英特尔(中国)有限公司,持股10.8461%。此外,同样属于国资的上海集成电路产业投资基金股份有限公司和国家集成电路产业投资基金二期股份有限公司(又称“大基金二期”)也分别持有紫光展锐3.4165%的股权。

紫光展锐后续如果能够顺利登陆科创板,将有望借助资本市场的力量进一步做大做强,也有助于国产智能手机芯片产业的快速发展。
根据此前紫光展锐内部人士透露的计划显示,紫光展锐计划在2025年实现“盈亏平衡”,并完成IPO的阶段目标。在成功IPO助力公司进一步的跨越式发展之后,希望到2030年实现“营业收入规模力争全球领先,盈利能力稳健,核心竞争力突出,产业生态引领强,迈入世界一流芯片设计企业行列”。
编辑:芯智讯-浪客剑