
又又又是领慧,又是一个新品,和以外咬 ADI 和 TI 的屁股不一样,这次咬了另外一家:

这个有熟悉的吗?
没事,这家也是信号链厂,但是做的比较集中:

这是他们的产品页
因为现在这个地区战事不断(可能吧),这些没有自己晶圆厂的厂家是对稳定供货很敏感的,所有这家公司有的型号就停产了

型号是比较多的
而且也没有推荐的同类产品,那这种情况下,LHA 就有机会了;先看下停产了什么。

就是一个性能很强的 ADC

其中主要还是这个没有 1/f,关于这里的门道我后面会大写特写的
CS5530 = 24bit ΔΣ ADC + 内置 64× 超低噪声斩波仪表放大器(12 nV/√Hz),满量程仅 ±39mV,专为称重/低频/高精度而生。它是最经典的一代“桥式传感器专用 ADC”,在功能上与 ADS1232/ADS1246/AD7730 同档。
可以把它看作:
前端:64× INA(斩波,无 1/f 噪声)
后端:4 阶 ΔΣ 调制器 + Sinc5/Sinc3 滤波器
接口:3 线 SPI
输出分辨率:Noise-free up to 19 bits(在 OWR=7.5 SPS 时)
模块 | 参数 |
|---|---|
INA | 64×,12 nV/√Hz@0.1Hz,无 1/f 噪声,输入电流 1200 pA |
ADC | 4阶 ΔΣ,线性误差 ±0.0015% FS,24bit 无失码 |
参考 | VREF 可到模拟供电(VA+−VA−) |
噪声 | Noise-free 19bit(低速时) |
数据率 | 6.25–3840 SPS(共 20 档) |
供电 | ±2.5V / ±3V / 单 5V 都能跑 |
接口 | SPI、Schmitt 触发 SCLK、支持光耦直接驱动 |
它本质上是一颗带“完美前置运放”的单通道高精度 ADC,用来接微伏级信号。

框图也简单,就是流式的信号走向
图中结构清晰分为:
差分输入 AIN+ / AIN-→ 斩波 64× INA(抑制 1/f 噪声)→ 1000 Ω / 22 nF 内部滤波网络(抗混叠)→ ΔΣ Modulator(4 阶)→ Sinc5 / Sinc3 滤波器;相当于你买到的是:前端模拟 + ADC 全套已匹配的系统,几乎不需要外部驱动运放。

输入模型
INA 斩波频率:MCLK/128
输入模型中包含一个 3.9 pF 的“采样电容”
产生的 CVF(采样)电流:
数据表典型值:1200 pA; 前端非常容易驱动,不像 SAR 那样需要高速缓冲器。
AIN+/AIN- 可做差分测量,但各自必须在:
若用单电源 5V,那共模大约只能放 1.6–3.4V,因此使用桥传感器时通常会把桥激励设在中点(2.5V)。
若 VRS=1 → Y=1 → 满量程 = ±VREF/64
若 VRS=0 → Y=2 → 满量程 = ±VREF/128
例如 VREF=2.5V:
Gain=64 → ±39mV
Gain=128 → ±19.5mV,这就是为什么它天生适合称重传感器(2mV/V → 10mV)。
表格列出的噪声:
OWR | Noise-free bits | 噪声 (nV_rms) |
|---|---|---|
7.5 Sps | 19 bit | 17 nV |
60 Sps | 18 bit | 48 nV |
120 Sps | 17 bit | 68 nV |
240 Sps | 16 bit | 115 nV |
在 10mV 满量程时:17 nV → 可分辨 10mV / 17nV ≈ 588k 档(约等效 19-bit noise-free resolution)这就是为什么这一代 ΔΣ ADC 在称重行业横扫几十年。
CS5530 的意义 = 你不需要构建前级放大器,它已经自带了完美的超低噪声前端。
用它建的系统一般如下:传感器 → 简单 RC → CS5530(无需前置运放,无需复杂驱动,校准只需要 Offset + Gain)

然后这个寄存器配置的图我是很喜欢的,其实使用的时候就是这样
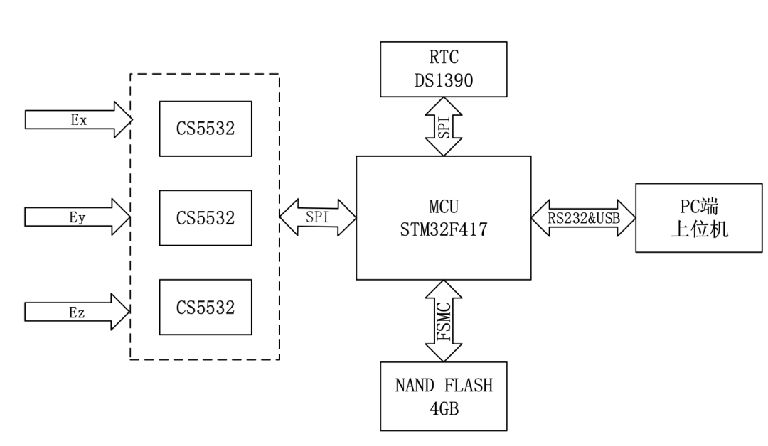
然后最早我接触到这个 ADC 是因为一个海洋工具的事情:

在论文里面出现了这个 ADC,三颗三个轴,就是没有想到停产了

架构是这样的
那这么好的 ADC,肯定是用了在不同的领域,但是突然的嘎调,你就得囤货以及换,囤货的话,未来还是要换片子;那这样的背景下不如找个替代的:

没错,就是这样,对应单通道和多通道,直接 P2P 的俩颗就做出来
之前的对标,LHA 还是有点和友军对不上的,这次也不装了,直接就是换个前缀。
好啦,好啦,赶紧看新品。

其实看构架大差不差的,就是按照对标设计的。

LHA 的板子很有辨识度

下面配的是 H7 的核心,挺大气,每次 demo 板都会给
斩波稳定,等于自带“零 1/f 噪声”:在 0.1 Hz 处噪声密度 9.5 nV/√Hz,而且数据手册直接写 “No 1/f noise”,适合超低频 / DC 应用(如称重、压力)。
增益档位:64× 或 128×,由配置寄存器里的 VRS 位选择:
VRS=1:Gain=64 → 输入满量程 ±VREF/64
VRS=0:Gain=128 → 输入满量程 ±VREF/128
输入偏置电流 2 nA(CVF current),输入电流噪声 1 pA/√Hz;输入电容约 18 pF。
CVF current 2 nA 其实就是 sampling current:内部有采样电容和预充电结构,所以前端永远会有一个“小吸电流”,但量级很小。
满量程差分输入:,其中 Y=2(VRS=0)、Y=1(VRS=1)。
举例:VREF=2.5 V
Gain=64:±2.5/64 ≈ ±39 mV
Gain=128:±2.5/128 ≈ ±19.5 mV
通过数字增益寄存器还能再缩小到 1 mV 满量程级别(数字等效放大)。
共模范围:AIN+、AIN- 各自可在 VA-~VA+ 之间摆动,只要差分量落在上述满量程内即可,这对桥式传感器 + 中点偏置特别友好。
线性误差:1.5 ppm/FSR(典型),24 bit 无失码。
偏置:±0.2 μV,温漂 1 nV/°C;增益误差 0.005%,漂移 0.5 ppm/°C —— 典型 ΣΔ 高精度 ADC + 校准后的水平。

噪声-free 分辨率(表 2)
以双极性、Gain=64 为例(OWR=60 SPS,MCLK=4.9152 MHz):
60 SPS:噪声-free 18.2 bit,对应输入 RMS 噪声 ~38 nVrms
5 SPS:可到 20 bit,噪声 ~11 nVrms
注意这里是 放大后的等效输入噪声。对于称重场景,几十 nV 级的噪声,配 ±39 mV 满量程,理论可做到5~6 位有效计数头(10^5 级别的分辨率)是合理的。
表里还明确区分:
Noise Free Resolution:按 6.6×RMS(峰-峰)算,噪声更保守;
Effective Resolution:按 RMS 噪声算,数值会比 noise-free 高约 2.7 bit。
调制器采样率 。
3200 / 3840 SPS:只用一个 Sinc5 滤波器。
其它 SPS:Sinc5 + Sinc3 级联,Sinc3 有可编程抽取比 D=3840/OWR 或 3200/OWR。
120 SPS 时的幅频特性:−3 dB 点约 31 Hz(对应表 2);相位是线性的,保证线性相位(整形滤波不会产生相位畸变)。

60 SPS 的响应图(图 10)
可以看到典型 sinc^5 型主瓣 + 很深的 50/60 Hz 零点:特别适合工频环境下的称重。
靠两种手段:
Sinc 滤波器的零点安排在 50/60 Hz 多个整数倍;FRS 位(Filter Rate Select)可以整体乘 5/6,把整套 OWR + 零点位置从 60 Hz 系统挪到 50 Hz 系统。
方向 | CS5530 | LHA7530 |
|---|---|---|
前端结构 | 经典斩波 INA 64×(不可改) | 斩波 INA + 64/128× |
噪声 | 更低(业内曾经标杆) | 略高 |
采样结构 | 老式 ΔΣ + 预充 | 新一代 ΔΣ + 更优化的 pre-charge |
输入范围 | ±19mV / ±39mV | ±19mV / ±39mV(完全相同) |
数字特性 | 早期设计,功能少 | 控制更多、寄存器更现代化 |
抗工频 | 强(典型 Sinc5+Sinc3) | 强(但滤波更可调) |
应用风格 | 精密秤、仪表、超低速测量 | 需要速度 + 精度的现代系统 |
LHA 在 2025 看来设计的确实现代了不少。
模拟一颗 4.9152 MHz 时钟的 ΔΣ ADC:
调制器采样率:
目标输出数据率:ODR = 60 SPS→ 总抽取比:
直接用一个抽取比 R=10240 的 sinc 滤波器。
幅频公式(CIC):
为了直观,假设(和很多 ADC 类似):
先用 sinc、抽取到 240 SPS:
再用 sinc、再抽 4 倍到 60 SPS:
总响应:
把 ODR 改成 50 SPS(总抽取比 12288),并重新拆成 R1/R2(这里演示设成 200SPS→50SPS);这样零点从 60、120…Hz 这一族“搬”到 50、100…Hz。

60 Hz 系统下 sinc5 vs sinc5+sinc3
看第一张图(60 SPS,两条曲线):
在 60 Hz、120 Hz、180 Hz… 等点上出现明显深零点(约 −150 dB);主瓣较宽,从 DC 到几十 Hz 的滚降比较平缓;对于接近 30–40 Hz 的信号,幅度已经开始衰减。
也在 60 Hz 整数倍处有深零点,同样对 60 Hz 工频有极强抑制;由于多了一个 sinc,主瓣更窄、过渡带更陡:在 20–40 Hz 之间就已经明显开始下落,带外更快滚降;对于高于几十 Hz 的干扰(比如 100–300 Hz 机械振动 / EMC),抑制更强;这也对应数据手册里:在相同 ODR 下,LHA7530 的有效噪声带宽一般比 CS5530 小一些 → 噪声 slightly 更优,同时带外抑制更强。

LHA7530 50 Hz / 60 Hz 模式对工频的影响
橙色:60 Hz 模式(ODR=60 SPS),零点在 60、120、180…Hz,对 60 Hz 电网环境的抑制极深(那根纵虚线就是 60Hz)
蓝色:50 Hz 模式(ODR=50 SPS),零点整体“左移”到 50、100、150…Hz,对 50 Hz 工频抑制极深,对 60 Hz 变差
这就是数据手册里 FRS 位(5/6)干的事:
60 Hz 电网国家(美国、日本 60Hz 区)→ 设为 60 系统
50 Hz 电网国家(欧洲、中国大部分地区)→ 设为 50 系统
核心不是 ODR 是多少,而是:把 Sinc 零点精准对准工频。
结合仿真 + 数据手册,可以归纳成:
典型 sinc 结构,零点就落在 k·ODR。
由于没有第二级 sinc,主瓣更宽 → 对“有点动态”的信号更宽容;在低速档,通过提高 OSR 获得极低噪声。
sinc + sinc 级联,整体过渡带更陡、带外抑制更强;同样可以把零点对准 50/60Hz,但还能通过 WR/FRS 灵活调整带宽;对工频、谐波、电机噪声的抑制更强,适合工业现场恶劣环境。