环境变量(environment variables)⼀般是指在操作系统中⽤来指定操作系统运行环境的⼀些参数。
echo $NAME //NAME:你的环境变量名称
每个程序都会收到⼀张环境变量表,环境变量表是⼀个字符指针数组,每个指针指向⼀个以’\0’结尾的字符串。

常⽤getenv和putenv函数来访问特定的环境变量。
#include <stdio.h>
#include <stdlib.h>
int main()
{
printf("%s\n", getenv("PATH"));
return 0;
}环境变量通常具有全局属性,可以被子进程继承下去。

分页&虚拟地址空间

缺页中断:使用虚拟地址通过页表查看物理地址,虚拟地址合法,但是物理地址找不到,操作系统此时会将代码和数据加载到内存中,并填充页表,进程就可以继续运行了。
写时拷贝:父子进程将数据部分的权限设置为只读,当某一个进行写的时候,操作系统就会识别出需要进行写时拷贝。
野指针:通过虚拟地址查找物理地址时,找不到。
其中mm_struct中还包含struct vm_area_struct*的链表,来管理堆空间(因为堆可能有多个),或者管理其他空间。
在 linux 中 fork 函数是非常重要的函数,它从已存在进程中创建⼀个新进程。新进程为子进程,而原进程为父进程。
include <unistd.h>
pid_t fork(void);
//返回值:⼦进程中返回0,⽗进程返回⼦进程id,出错返回-1进程调用 fork ,当控制转移到内核中的 fork 代码后,内核做:
进程终止的本质是释放系统资源,就是释放进程申请的相关内核数据结构和对应的数据和代码。
进程退出场景
进程常见退出方法
正常终止(可以通过 echo $? 查看进程退出码):
异常退出:
退出码(退出状态)可以告诉我们最后⼀次执⾏的命令的状态。在命令结束以后,我们可以知道命令是成功完成的还是以错误结束的。其基本思想是,程序返回退出代码 0 时表示执行成功,没有问题。代码 1 或 0 以外的任何代码都被视为不成功。
wait方法
#include<sys/types.h>
#include<sys/wait.h>
pid_t wait(int* status);返回值:
成功返回被等待进程pid,失败返回-1。
参数:
输出型参数,获取子进程退出状态,不关心则可以设置成为NULL
waitpid方法
pid_ t waitpid(pid_t pid, int *status, int options);
返回值:
当正常返回的时候waitpid返回收集到的⼦进程的进程ID;
如果设置了选项WNOHANG,⽽调⽤中waitpid发现没有已退出的⼦进程可收集,则返回0;
如果调⽤中出错,则返回-1,这时errno会被设置成相应的值以指示错误所在;
参数:
Pid=-1,等待任⼀个⼦进程。与wait等效。
Pid>0.等待其进程ID与pid相等的⼦进程。
status: 输出型参数
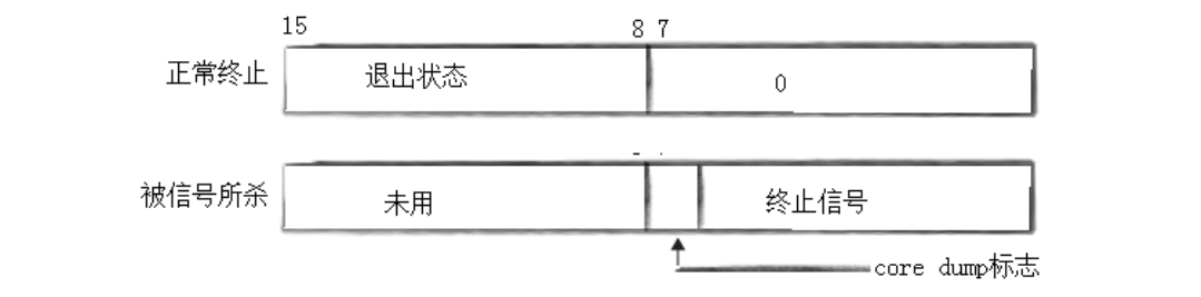
WIFEXITED(status): 若为正常终⽌⼦进程返回的状态,则为真。(查看进程是否是正常退出)
WEXITSTATUS(status): 若WIFEXITED⾮零,提取⼦进程退出码。(查看进程的退出码)
options:默认为0,表⽰阻塞等待
WNOHANG: 若pid指定的⼦进程没有结束,则waitpid()函数返回0,不予以等待。若正常结束,则返回该⼦进程的ID。如果子进程已经退出,调用wait/waitpid时,wait/waitpid会立即即返回,并且释放资源,获得子进程退出信息。
status不能简单的当作整形来看待,可以当作位图来看待,具体细节如下图(只研究status低16比特位):

在进程替换的时候,只需要将要执行的程序的代码和数据覆盖式的加载到内存中对应位置即可,进程数据结构对象和虚拟内存不需要修改,页表可能需要进行修改。

用fork创建子进程后执行的是和父进程相同的程序(但有可能执行不同的代码分支),子进程往往要调用一种exec 函数以执行另一个程序。当进程调用一种 exec 函数时,该进程的用户空间代码和数据完全被新程序替换,从新程序的启动例程开始执行。调用 exec 并不创建新进程,所以调用 exec 前后该进程的 id 并未改变。
#include <unistd.h>
int execl(const char *path, const char *arg, ...);
int execlp(const char *file, const char *arg, ...);
int execle(const char *path, const char *arg, ...,char *const envp[]);
int execv(const char *path, char *const argv[]);
int execvp(const char *file, char *const argv[]);
int execve(const char *path, char *const argv[], char *const envp[]);这些函数原型看起来很容易混,但只要掌握了规律就很好记。
exec调用举例如下:
#include <unistd.h>
int main()
{
char *const argv[] = {"ps", "-ef", NULL};
char *const envp[] = {"PATH=/bin:/usr/bin", "TERM=console", NULL};
execl("/bin/ps", "ps", "-ef", NULL);
// 带p的,可以使⽤环境变量PATH,⽆需写全路径
execlp("ps", "ps", "-ef", NULL);
// 带e的,需要⾃⼰组装环境变量
execle("ps", "ps", "-ef", NULL, envp);
execv("/bin/ps", argv);
// 带p的,可以使⽤环境变量PATH,⽆需写全路径
execvp("ps", argv);
// 带e的,需要⾃⼰组装环境变量
execve("/bin/ps", argv, envp);
exit(0);
}
事实上,只有 execve 是真正的系统调用,其它五个函数最终都调用execve ,所以execve 在man手册第2节,其它函数在 man 手册第3节。这些函数之间的关系如下图所示。