25GBASE-CR(S) (C110)
PMD (C110)
服务接口
本款规定了25GBASE-CR和25GBASE-CR-S PMD提供的服务。此PMD的服务接口以抽象方式描述,并不意味着任何特定的实现。PMD服务接口支持对等PMA实体之间的编码数据交换。PMD将编码数据与适用于指定介质的信号进行转换。
定义了以下PMD服务原语:
PMD: IS_UNITDATA.request
PMD: IS_UNITDATA.indication
PMD: IS_SIGNAL.indication
PMA(或PMD)以25.78125GBd的标称信令速率向PMD(或PMA)连续发送比特流。
PMD: IS_SIGNAL .indication原语的SIGNAL_OK参数对应于变量Global_PMD _SIGNAL_detect。当Global_PMD_signal_detect为1时,signal_OK应被赋予值OK。当Global_PMD _signal_detect为0时,SIGNAL_OK应被赋予值FAIL。当SIGNAL_OK为FAIL时,PMD: IS_UNITDATA .indication参数未定义。
如果支持可选的EEE深度睡眠功能,则PMD服务接口包括以下两个附加原语:
PMD: IS_TX_MODE .request
PMD: IS_RX_MODE .request
自协商服务接口
与该PMD相关联的PCS需要支持73.9中定义的AN服务接口原语AN_LINK .indication。
以下要求适用于与10GBASE-KR PMD(包括所有支持背板自协商的PMD)一起使用的PCS。必须支持第73条中定义的背板自协商。 PCS应支持原始AN_LINK .indication(link_status)。当PCS_status = false时,参数link_status应取FAIL值,当PCS_state = true时,参数link_status应取OK值。当link_status的值发生变化时,应生成此原语。该原语由PCS生成,用于指示底层介质的状态。此原语的目的是为自动协商功能提供一种确定接收到的代码元素有效性的方法。
25GBASE-CR和25GBASE-CR-S PHY可以使用25GAUI芯片到芯片(C2C)作为设备之间的子层间服务接口的物理实例进行扩展。如果实例化了25GAUI C2C,则AN_LINK(link_status) .indication将通过实施者自行决定的方式从具有PCS子层的设备中继到具有AN子层的装置。作为示例,实现者可以使用普及管理或使用专用电信号将一个设备上的PCS子层指示的link_status状态中继到另一个设备的AN子层。
MDIO功能映射
与25GBASE-CR(S) PMD相关的寄存器集中在C45寄存器DeviceID = 1(PMA/PMD)里。下面做一个简单的介绍。

控制变量映射

状态变量映射

FEC模式
25GBASE-CR PHY实现了BASE-R FEC子层和25GBASE-R RS-FEC子层。
25GBASE-CR-S PHY实现了BASE-R FEC子层。
根据背板自协商解析粒度或管理控制,每个FEC子层可以启用或禁用。
支持3种FEC模式:
a) 当启用25GBASE-R RS-FEC子层时,PHY被定义为在RS-FEC模式下运行。
b) 当启用BASE-R FEC子层时,PHY被定义为在BASE-R FEC模式下运行。
c) 当没有启用FEC子层时,PHY被定义为在无FEC模式下运行。
25GBASE-CR PHY可以在RS-FEC、BASE-R FEC或无FEC模式下运行。25GBASE-CR-S PHY可以在BASE-R FEC或无FEC模式下运行。
PHY支持的电缆组件类型(CA-25G-N、CA-25G-S或CA-25G-L)和所需的PMD接收器特性取决于FEC模式。
如果启用AN,则使用AN(第73条)确定FEC模式,如果禁用AN,则通过管理控制确定FEC模式。FEC模式在发送方向和接收方向上都使用。建议配置AN FEC广告能力,以便只选择与连接到MDI的电缆组件类型兼容的模式。
功能特性
链路框图

请注意,源通道(SL)信号SL<p>和SL<n>是发射机差分信号对的正边和负边,而目的通道(DL)信号DL<p>、DL<n>则是接收机差分信号对正侧和负侧。
为了系统一致性,PMD子层在本子条款所述的测试点进行了标准化。
电气发送信号在TP2处定义。除非另有规定,否则所有发送器测量和测试都是在TP2使用110B.1.1中规定的测试夹具进行的。
电接收信号在TP3处定义。除非另有规定,否则的所有接收器测量和测试都是在TP3使用110B.1.1中规定的测试夹具进行的。
SFP28 TP2或TP3测试夹具(110B.1.1)
TP2或TP3测试夹具,也称为主机一致性测试板(HCB),用于测量TP2处的发射机规格和TP3处的接收机回波损耗。
该测试夹具还用于验证TP1a的25GAUI C2M主机输出特性和TP4a的主机输入特性。TP1a和TP4a测试点如图83E-4所示。

测试夹具印刷电路板参考插入损耗如方程式(92-34)所示。实际测试夹具的插入损耗和参考插入损耗之间的差异的影响将在主机测量中加以考虑。


发射机和接收机规范中都包含了配对的连接器对。。附件110A提供了与测试点TP0和TP5相关的参数信息,这些参数在已实现的系统中可能无法测试。
通道定义在发射器(TP0)和接收器(TP5)块之间,包括发射器和接收器差分控制阻抗印刷电路板插入损耗和电缆组件插入损耗。所有电缆组件测量应在TP1和TP4之间进行。在TP1和TP4处测量电缆组件规格需要电缆组件测试夹具或其等效物。电缆组件规范中包含了两对配对的连接器和电缆组件测试夹具。
测试点
TP0 to TP5: 信道包括发射机和接收机差分控制阻抗印刷电路板插入损耗和电缆组件插入损耗。
TP1 to TP4: 所有电缆组件测量应在TP1和TP4之间进行。在TP1和TP4处测量电缆组件规格需要电缆组件测试夹具或其等效物。
TP0 to TP2/ TP3 to TP5: 发射机和接收机规范中都包含了配对的连接器对。
TP2: 除非另有规定,否则所有发送器测量都是在TP2处使用测试夹具进行的。
TP3: 除非另有规定,否则所有接收器测量都是在TP3处使用测试夹具进行的。
发送功能
PMD发送功能应将PMD服务接口消息PMD: IS_UNITDATA .request(tx_bit)请求的比特流转换为电信号。然后,根据发送电气规范,将电信号发送到MDI。正差分输出电压(SL<p>减去SL<n>)应对应于tx_bit = 1。
如果支持可选的EEE深度睡眠功能,则适用以下要求。当收到PMD服务接口消息PMD: IS_TX_MODE .request(tx_mode)且tx_mode = ALERT时,PMD发送功能应发送一个周期性序列,其中序列的每个周期由8个1和8个0组成,发送均衡器系数设置为预设值。无论PMD: IS_UNITDATA .request原语提供的tx_bit值如何,都会发送此序列。当tx_mode未设置为ALERT时,发送均衡器系数设置为通过启动协议确定的值(PMD控制功能)。
接收功能
PMD接收功能应将来自MDI的电信号转换为比特流,以便使用消息PMD: IS_UNITDATA .indication(rx_bit)传递到PMD服务接口。正差分输入电压(DL<p>减去DL<n>)应对应于rx_bit = 1。
全局信号检测功能
PMD使用全局PMD信号检测功能来指示PMD控制功能成功完成启动协议startup protocol。当训练状态图将变量signal_detect的值设置为false时,Global_PMD_signal_detect设置为0。当signal_tect的值设置为true时,Global_PMD_signal_detect设置为1。如果管理变量mr_training_enable禁用了训练,则Global_PMD_signal_detect应设置为1。
如果支持可选的EEE深度睡眠功能,则适用以下要求。当PMD服务接口消息PMD: IS_RX_MODE .request(rx_mode)最初收到rx_mode = QUIET时,Global_PMD _signal_detect的值设置为0。当rx_mode设置为QUIET时,当连接发射机和接收机的电缆组件输入端的差分对在TP2处测量的峰间差分电压为720 mV,Global_PMD_signal_detect应在ALERT模式应用后500 ns内设置为1。
当rx_mode设置为QUIET时,当连接发射器和接收器的电缆组件的差分对的电压输入小于或等于70 mV峰间差分时,Global_PMD_signal_detect不应设置为1。
当实现MDIO时,此功能将变量映射到寄存器和位1.10.0。
全局信号关闭功能
如果支持EEE深度睡眠功能,则全局PMD发送禁用功能是强制性的,否则是可选的。当Global_PMD_transmit_disable变量设置为1时,此功能应关闭发送器,使其驱动恒定电平(即无转换),并且不超Tx时的差分峰间输出电压(35mV)。
如果检测到PMD故障,则PMD可以将Global_PMD_transmit_disable设置为1。环回不受Global_PMD_transmit_disable的影响。
当支持可选的EEE深度睡眠功能时,以下附加要求适用:
a) 当tx_mode从任何其他值转换为QUIET时,全局PMD发送禁用功能应按照规定关闭发射器。
b) 当tx_mode从QUIET转换到任何其他值时,全局PMD发送禁用功能应按照规定打开发射机。
回环模式
本地环回模式由相邻的PMA提供(25GBASE-R PMA)作为测试功能。当启用环回模式时,传递给发射机的发送请求直接发送给接收机,覆盖接收机在其连接的链路上检测到的任何信号。请注意,环回模式不会影响发射机继续发送数据(除非禁用)。
在环回模式下执行的信号路径是特定于实现的,但建议该信号路径包含尽可能多的电路。提供这种环回操作模式的目的是允许诊断或自检功能使用实际数据测试发送和接收数据路径。也可以使用其他设备或子层内的环回控制独立启用其他环回信号路径。
将网络端口置于环回模式可能会对网络造成干扰。
错误功能
PMD_fault是PMD_receive_fault、PMD_transmit_fault和任何其他特定于实现的故障的逻辑或。如果实现了MDIO接口,此功能将变量映射到寄存器和位1.1.7。
发送错误功能
PMD发送故障功能是可选的。此功能检测到的故障是特定于实现的,但Global_PMD_transmit_disable的断言不被视为发送故障。如果PMD_transmit_fault设置为1,则Global_PMD_transmit_disable也应设置为1。如果实现了MDIO接口,此功能将变量映射到寄存器和位1.8.11。
接收错误功能
PMD接收故障功能是可选的。此功能检测到的故障是特定于实现的。通过将变量PMD_receive_fault设置为1来指示故障。如果实现了MDIO接口,此功能将变量映射到寄存器和位1.8.10。
控制功能
25GBASE-CR和25GBASE-CR-S PMD应使用与92.7.12(100GBASE-CR4 PMD)中定义的100GBASE-CR4通道0相同的控制功能。
变量seed_0和polynomial_0控制训练图案。建议具有多个PMD的实现对通过串扰耦合的PMD使用不同的polynomial_0值。
背景--C92.7.12
100GBASE-CR4 PMD控制功能
100GBASE-CR4 PMD的每个通道应使用与72.6.10中定义的10GBASE-KR相同的控制功能,但有以下区别:
a)100GBASE-CR4 PMD控制功能使用的训练帧结构training frame structure应如72.6.10(10GBASE-KR PMD)中所述,但25.78125 GBd符号替换10.3125 GBd的符号,100GBASE-CR4 UI替换10GBASE-KR UI。
b)除72.6.10.2.5(10GBASE-KR PMD Coefficient update process)中规定的系数更新过程外,从收到新请求到响应该请求的时间应小于2毫秒,启动协议开始后的前50毫秒除外。启动协议的开始被定义为进入图73-10(背板自协商“接收状态机”)中的AN_GOOD_CHECK状态。周期的开始是具有新请求的训练帧的帧标记,周期的结束是具有相应响应的训练帧。当系数更新字段与前一帧中的系数字段不同时,会出现新的请求。当系数状态报告字段更新以指示相应操作已完成时,会发生响应。
c) 此外,72.6.10.2.6(10GBASE-KR PMD Training pattern)中定义的训练图案被一组旨在最小化物理通道之间相关性的训练图案所取代。每个通道的训练图案应由伪随机比特序列(PRBS)生成器输出的4094比特组成,后跟两个0。每条通道的PRBS生成器应实现表92-5中给出的4个生成器多项式(多项式_n,其中n从0到3)中的每一个,可通过identifier_i(其中i是通道号)进行选择。默认情况下,identifier_i设置为通道号i(即identifier_0 = 0;identifier_1 = 1,以此类推)。在训练图案开始时,生成器的状态应设置为seed_i中的值(其中i是通道号),默认值如表92-5所示。请注意,种子值0x000无效。图92-3给出了默认设置下n=0的PRBS生成器的示例实现。表92-5还提供了每个多项式训练模式的前32位。


变量rx_trained_i、frame_lock_i、training_i和training_failure_i(其中i从0到3)报告每个通道的状态,相当于72.6.10.3.1(10GBASE-KR PMD控制功能状态机变量)中定义的rx_trained、frame_lock、training和training_failure。
如果实现了MDIO接口,则此功能应将变量polynomial_i、seed_i、rx_trained_i、frame_lock_i、training_i和training_failure_i分别映射到寄存器1.1450.12:11 (i=0), 1.1450.10:0 (i=0), 1.151.0 (i=0), 1.151.1 (i=0), 1.151.2 (i=0), 1.151.3 (i=0)。
背景--C72.6.10
10GBASE-KR PMD控制功能
概述
PMD控制功能生成将PMD从初始化带到可以与链路伙伴交换数据的模式所需的控制动作。
PMD控制功能实现10GBASE-KR启动协议。该协议有助于定时恢复和均衡,同时还提供了一种机制,通过该机制,接收器可以调整链路对端的发送均衡器FFE,以优化背板互连的性能。该协议通过连续交换固定长度的训练帧来支持这些机制。
如果支持EEE,PMD控制功能会响应PCS请求,以进入和退出安静状态。
训练帧结构
训练帧是在训练过程中连续发送的固定长度结构。如图72-2所示,训练帧的长度为548个字节,包含一个控制信道和训练图案。
使用差分曼彻斯特编码(DME)以等于10GBASE-KR信令速率四分之一的信令速率向控制信道发送信号。由于每个DME符号包含两个DME转换位置,每个转换位置是4个10GBASE-KR UI,因此每8个10GBASE-KR UI发送一个控制信道比特。
差分曼彻斯特编码保证了转换密度和DC平衡,而降低的发送速率有助于在非最佳均衡信道上进行接收。训练帧由固定的4个字节帧标记定界。

帧标记
帧由32位图案、十六进制0xFFFFF0000(首先发送1)分隔,如10.3125 Gbd符号所示。该图案不出现在控制信道或训练图案中,因此用作训练帧开始的唯一指示符。
控制信道编码
应使用差分曼彻斯特编码(DME)发送控制信道。差分曼彻斯特编码的规则如下:
a) 数据转换应发生在每个单元cell边界。
b) 中间单元mid-cell数据转换应用于发出逻辑信号1。
c) 中间单元mid-cell数据转换的缺失应用于发出逻辑信号0
如果在给定训练帧中的控制信道边界内检测到编码违规,则应忽略该帧的控制信道内容。数据单元长度应为8个10GBASE-KR UI(每字节占用8个10GBASE-KR UI)。因此,控制信道的总长度为256个10GBASE-KR UI(32字节占用256个10GBASE-KR UI)。
系数更新字段
系数更新字段携带从本地接收器到链路伙伴发射均衡器的校正信息。该字段由3个发送均衡器抽头的预设控制、初始化控制和系数更新组成。系数更新字段的格式应如表72-4所示。应首先发送发送的系数更新字段的单元15(Cell 15)。预设、初始化和系数更新由接收器自适应过程设置。

预设:发送预设控制,请求将系数设置为关闭均衡的状态。收到时,pre-cursor(k = -1)和post-cursor(k = +1)系数应设置为0值,main(k=0)系数应设为最大值。预设控制仅在所有系数状态字段coefficient status fields均指示未更新not_updated时才应最初发送,然后将继续发送,直到所有系数的状态指示已更新或最大值。此时,输出预设控制应设置为0。更新主系数时,应返回最大Maximum状态。当系数更新且0为其最大支持值时,应返回pre-cursor和/或post-cursor系数的最大Maximum状态。当系数更新时,应返回pre-cursor和/或post-cursor系数的更新Updated状态,并支持0值以上的其他设置。在所有系数的传入状态消息恢复为未更新not_updated之前,不得发送新的预设或初始化请求。预设不得与初始化或系数增量/减量请求同时发送。
初始化:发送初始化控制以请求设置系数,以将发送均衡器配置为其初始化INITIALIZE状态。接收时,应设置抽头taps,使发送输出符合72.6.10.4.2(训练状态机,后续会详细介绍)中定义的条件。初始化控制应仅在所有系数状态字段均指示未更新not_updated时最初发送,然后将继续发送,直到没有系数状态字段指示未更新为止。系数更新完成后,应返回每个系数的更新状态。此时,输出初始化控制应设置为0。在所有系数的传入状态消息恢复为未更新not_updated之前,不得发送新的预设或初始化请求。初始化不应与系数增减请求或预设同时发送。
系数更新:每个系数k被分配一个2位字段,描述所请求的更新。定义了3种请求编码:递增、递减和保持。给定抽头的默认状态是保持,这对应于系数没有变化。发送增量或减量编码以请求增加或减少相应的系数。发送器响应系数更新请求而实施的更改量应符合要求。增量或减量请求应继续发送,直到该抽头的更新状态指示更新、最大或最小。此时,该抽头的传出请求应设置为保持。在该抽头的传入状态消息恢复为未更新之前,不得发送新的增量或减量请求。系数增量/减量不得与初始化或预设同时发送。k的有效范围是-1到+1,其中k=0表示主抽头。
状态报告字段
状态报告字段用于从本地PMD向链路伙伴发送状态信息。状态报告字段的格式应如表72-5所示。应首先发送状态报告字段的单元格15(Cell 15)。

接收就绪:接收器就绪位用于向链路伙伴发送本地接收器状态的信号。当断言时,接收器就绪位表示本地接收器已结束训练并准备接收数据。当取消断言时,接收器就绪位表示本地接收器正在请求继续训练。
系数状态:每个系数k被分配一个2位字段,描述系数的待更新状态。定义了4种状态编码:未更新、已更新、最大和最小。这些状态编码指示系数k的系数更新状态图的相应状态。k的有效范围是-1到+1,其中k = 0表示主抽头。
系数更新过程
每个系数k都有一个相关的系数更新状态图,该图控制系数的更新并生成抽头更新状态字段。给定点击的默认状态为未更新。只有当抽头的状态未更新时,才会对增量或减量请求采取行动。在执行接收到的增量或减量请求时,状态会报告为已更新、最大或最小。如果收到增量请求,则报告最大值导致抽头值达到其最大限制,或者如果它已经处于该限制。如果接收到的减量请求导致抽头值达到其最小限制,或者已经达到该限制,则报告最小值。一旦报告了更新、最大或最小状态,它将继续报告,直到收到保留请求,之后状态将恢复为未更新。
测试图案
训练图案应为512个字节图案,由11阶伪随机比特序列(PRBS11)生成器输出的4094个比特组成,后跟两个0。PRBS11模式生成器应产生与图72-3所示实施相同的结果。这实现了方程式(72-1)中所示的生成器多项式。


伪随机生成器应在训练图案开始时具有随机种子。训练图案的每个比特作为单个10.3125GBd符号发送。
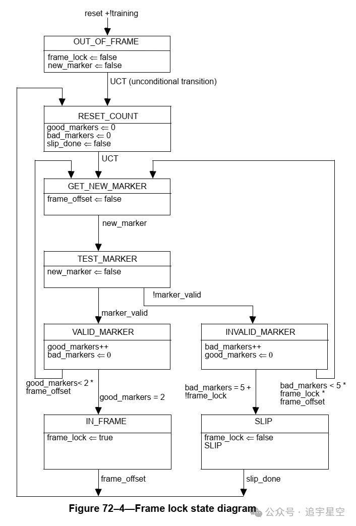
状态机
帧锁定
10GBASE-KR PMD应实现如图72-4所示的帧锁定状态图。帧锁定状态图确定PMD控制功能何时检测到接收到的数据流中的帧边界。

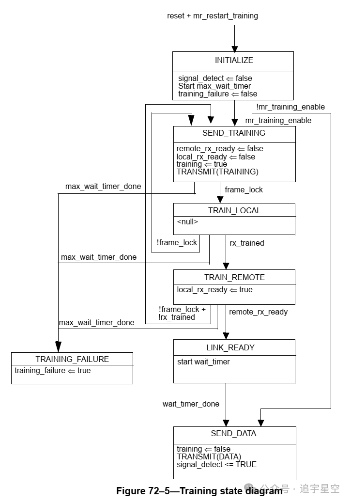
训练
10GBASE-KR PMD应实施图72-5所示的训练状态图。训练状态图定义了10GBASE-KR启动协议的操作。当训练状态图进入初始化时状态下,发射机均衡器应配置为Rpre和Rpst分别为1.29±10%和2.57±10%。Rpre和Rpst的定义见72.7.1.11(Transmitter output waveform requirements)。在训练开始时,应设置c(0)的初始值,以满足72.7.1.11(Transmitter output waveform requirements)的约束,并且对于1010图案,峰间差分输出电压应大于或等于800mV。

系数更新
对于每个抽头,10GBASE-KR PMD应实现如图72-6所示的系数更新状态图实例。系数更新状态图定义了响应于来自链路伙伴的请求更新发送均衡器系数的过程,还定义了要在输出训练帧中报告的系数更新状态。

背景--C72.7.1.11
10GBase-KR 发送器输出波形要求
发射机输出波形的测试图案(由4到11个连续的1和一系列相等的0组成的图案可以用作方波)。这些图案的基频在大约452 MHz(10GBASE-W)和1289 MHz(10GBASE-R)之间。至少连续运行8次。发送器输出波形测试基于电压v1至v6、Dv2和Dv5,应按照图72-12所示和下文所述进行测量。


根据这些电压,pre-和post-cursor均衡比Rpre和Rpst由方程式(72-8)和方程式(72–9)得出。

发射机均衡器的状态以及发射机输出波形是通过FFE训练协议或管理来操纵的。系数更新请求导致的发送器输出波形变化应符合表72-7中规定的要求。表72-7中的系数更新请求后,将对所有抽头进行系数更新。在所有抽头的系数状态报告为未更新后,应验证结果。

对于任何系数更新,v1、v2和v3的变化幅度应在5 mV以内。当对给定的抽头应用了足够的增量或减量更新时,它将达到由系数范围或对最小稳态或最大峰值电压的限制所决定的最大或最小极限,并相应地报告系数状态。对于表中所示的所有限制情况,发送器输出波形应符合表72-8的要求。c(-1)或c(1)系数值大于零或小于Rpre(min)和Rpst(min)定义的最小值是可选的。可以通过首先断言表45-77(寄存器1.152 BASE-R LP coefficient update, lane 0 register)(寄存器1.153 BASE-R LP status report, lane 0 register)中定义的预设控制,然后根据测试要求操纵其他系数来禁用系数。

此外:
a) 量Dv2和Dv5的峰间值不得超过40 mV。
b) 正负电压应匹配,以确保min(|v1+v4|/v1,|v1+v4 |/|v4|)、min(|v2+v5|/v2,|v2+v5|/|v5|)和min(|v3+v6|/v3,|v3+v6 |/|v6|)的数值均不超过0.05。
c) 数量v2应大于或等于40 mV。
d) 任何系数更新等于应用于任何抽头的减量,这将导致v2小于40 mV,应返回系数状态值的最小值。
e) 任何等于减量的系数更新,如果会导致电压峰峰值小于0V,则应返回该系数的最小系数状态值。
f) 任何等于增量的系数更新,如果会导致电压峰峰值大于1200mV,则应返回该系数的最大系数状态值。