你可以说日子没落了,但是这个网页设计和企划绝对是有独特的味道的。本来是想写个AD5940的,但是谁在乎呢?不如养养眼。
这个公司应该也是一个初创的企业,生产了一种柔性可穿戴的材料。
通过对丝绸和聚酯进行特殊加工来制作电极,开发出了光滑且触感舒适的“导电纤维”。

建立了使用染色技术将导电聚合物液体涂覆在合成纤维和无纺布上的大规模生产技术,并已将其开发为电刺激服装。

纺织过程

工艺好像就是喷涂

电镜照片

哟西,展示这个东西是柔性贴合的

可以直接制成衣服

这个不知道是展示了什么

剪来剪去,肯定好设计

可以当触摸面料,估计是不是织的那么密

幻想时间,宇航局也使用这个材料

这是现实的展示,在肚子上面裹了一条当EEG采集

这个是说这个面料可以水洗

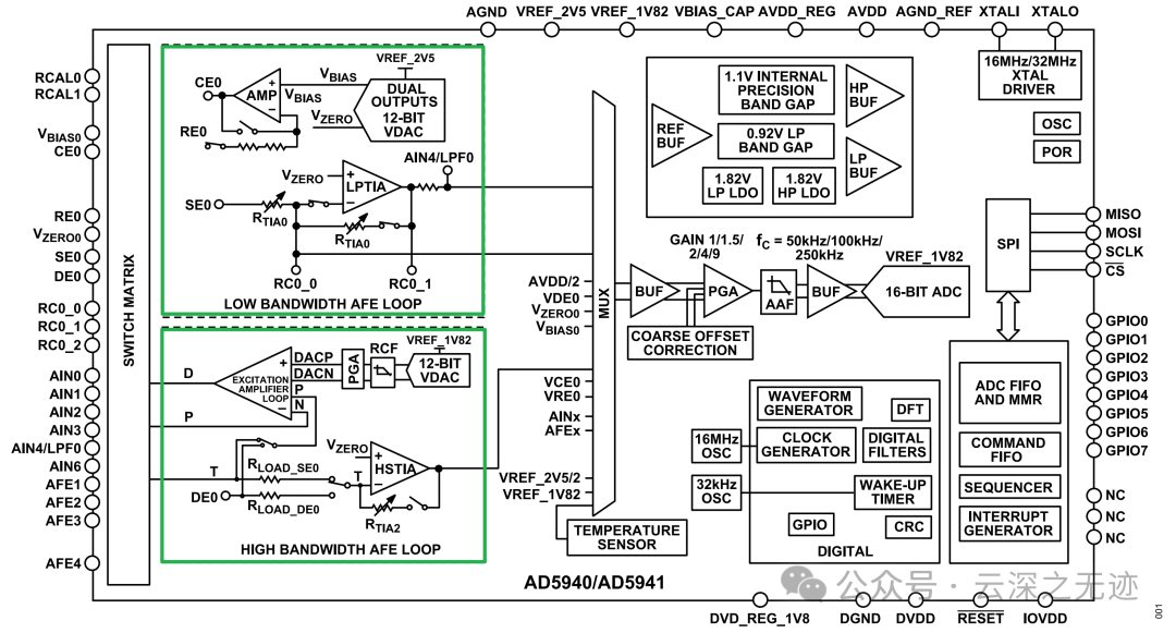
因为和皮肤接触,要求阻抗很大,所以AD这个器件是做阻抗测量的

内外的器件很多也看不清是什么设计
保守估计是有温度传感器和至少两个AD的器件,还有NXP的,看不清。

以后说,就是有两个测量环路,一个高频一个低频