审计功能是指软件系统内置的、用于监控、记录、分析用户操作及系统活动的模块或机制,其核心目的是通过全程追踪关键行为,确保系统操作合规、数据安全可追溯,并为问题排查、责任界定、合规审计提供依据。
以下是简要介绍:
系统默认审计管理员用户名为audit,密码默认为123456。使用审计管理员登录便可进入系统使用审计管理员角色功能。

审计管理员可以对系统的信息进行审计包括登录日志审计、数据库访问审计、数据库连接操作历史审计,还可查看数据库连接的操作日志、用户密码审计。
其中用户密码审计可审计每次更新密码情况,可对查询结果进行导出、可选择用户发送消息。

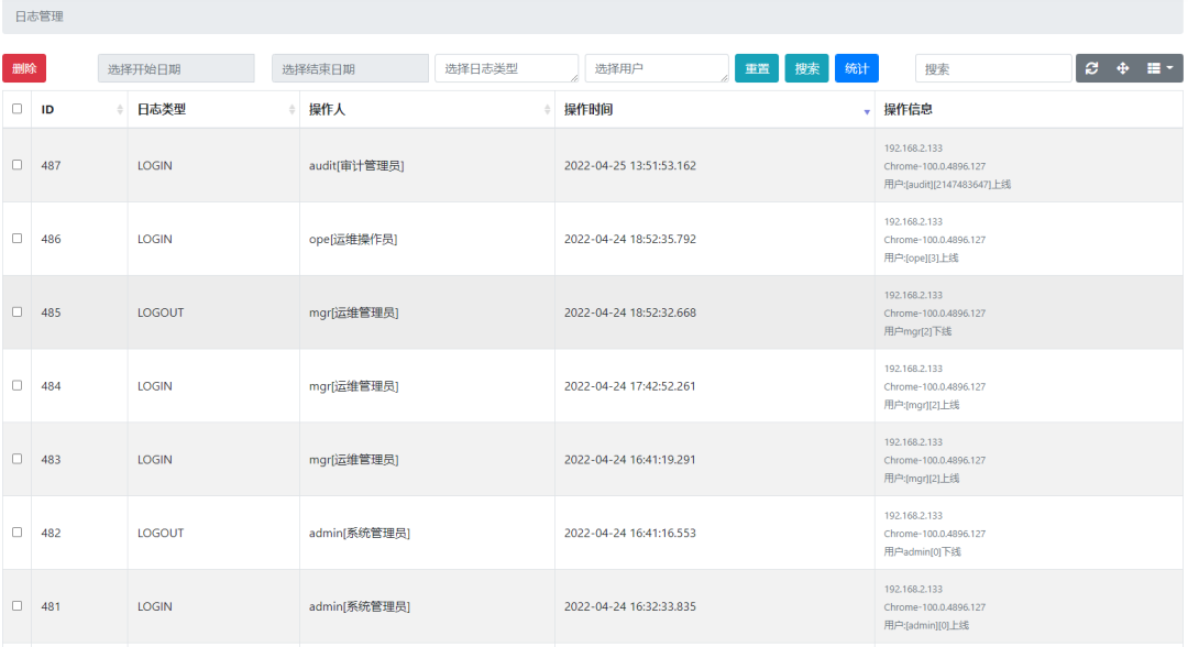
图 登录日志

图 数据库访问审计

图 数据库连接审计列表

图 数据库连接操作记录

图 用户密码审计

图 审计统计分析报表
总结:
XGuard的审计模块有专门审计用户进行管理,功能涵盖了对所有敏感资源的审计,同时无关记录不会包含,例如数据库运维审计只记录有价值的运维命令,真正做到了平衡 “审计粒度” 与 “系统性能”。XGuard的审计模块通过 “记录 - 分析 - 追溯” 闭环,为企业的数据安全、合规运营提供了刚性保障。