

点击Connection->Connect… 弹出注册码输入框,可以输入注册码,没有的话点击Regster later可以试用30天

输入完注册码后,弹出Connection配置

支持5种连接形式

1 串行: 通过串行线路。RS232或RS485。可以使用USB串行转换器。
2 TCP/IP:如果要与TCP/IP网络通信,选择TCP/IP。在这种情况下,从站ID与TCP/IP中使用的单元ID相同。 端口号默认为502。如果连接失败,则尝试是否可以在命令提示符下ping设备。如果ping命令失败,轮询也将失败。
3 UDP/IP: 如果要与UDP/IP网络通信,请选择UDP/IP。这与TCP/IP相同,但改用连接较少的UDP协议。
通过TCP/IP的RTU/ASCII: 这是通过TCP/IP网络而不是串行线路发送的RTU或ASCII消息。 通过UDP/IP的RTU/ASCII: 这是通过UDP/IP网络而不是串行线路发送的RTU或ASCII消息。 连接类型3-5不是http://www.modbus.org指定的标准,是为了一些特殊情况下的应用。
连接成功connection时界面如下(需要使用从站仿真器或者真实设备)

串口连接配置:
选择串口后可以配置串口信息

串口配置一般默认就好,除非有特殊的要求,Mode处可以选择RTU和 ASCII类型。右侧可以设置响应超时时间,和轮训间隔。对于轮训间隔,一般设置为20ms,如果将此值设置为小于20毫秒,则不能保证响应和新请求之间的3.5个字符的时间间隔。这是因为Windows进程调度为每10到20毫秒切换一次任务。 如果在串行RS485网络中轮询多个从站,则不应将该值设置为低于20ms。这是为了确保3.5个字符的时间间隔。 在TCP/IP网络中,小于20毫秒是可以的。
点击高级Advanced...可以看到高级设置,这里一般不用去管这里稍微介绍一下
RTS切换 :RTS切换指定如果字节可用于传输,则RTS线将为高。发送所有缓冲的字节后,RTS线将变为低电平。 如果你的232/485转换器带自动方向切换功能,则可以使用它来切换方向。 尽量,应避免使用RTS控制的RS232/RS485转换器。在非实时操作系统(例如Windows和Linux)下,很难确定关闭变送器的确切时间。如果关闭它,字符可能仍位于FIFO或UART的发送寄存器中,尚未发送出去,这会导致数据丢失,但如果关闭时间太晚,则从站的消息将被破坏,主站将无法识别该消息。
DSR :DSR指定是否监视DSR(数据集就绪)信号以进行输出流控制。如果此成员为TRUE并且DSR关闭,则输出将被挂起,直到再次发送DSR。
CTS :CTS指定是否监视CTS(清除发送)信号以进行输出流控制。如果启用此复选框且CTS已关闭,则输出将暂停,直到再次发送CTS。
DTR:DTR指定在打开端口时是启用还是禁用DTR。
删除回声 如果你用的设备或RS232/RS485转换器会回显刚刚发送的字符,则启用该功能自动删除回显。
TCP/IP连接协议配置

和串口配置类似,只是多了服务器(从机)IP配置,端口号,网络连接超时设置,还可以切换IPv4和IPv6网络协议。
参数设置
点击Setup->Read/Write Definiton...可以对监视窗口监视的内容进行设置



点击之后可以设置从站地址,选择功能码,如03是读保持寄存器值,Address处填写寄存器地址,这里要注意右侧有地址寻址方法 40011->10,Quantity填写要读的寄存器数目
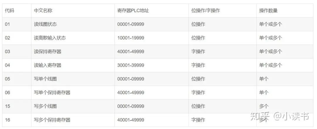
View 部分用于设置显示的行数,Cell中的地址显示等信息。Modbus的功能码定义如下

常见的功能码和地址对应表

设置假名,你可以直接双击alias列对应的单元格填写一些方便记忆的名字

选择Setup->Excel Log ...可以设置Excel log,以方便数据处理

选择Setup->Log … 可以设置Log的存储细节,存储速率,分割符,错误记录形式等。

测试功能:
Modbus poll 提供方便的测试辅助功能在Function菜单下,可以直接选择相应的功能发送命令给从机

Modbus Poll还提供了文本发送调试工能,点击Functions->Test Center...进入测试中心,编辑完了命令之后可以直接点击Send发送。

显示设置。
默认情况下Modbus Poll以Signed形式显示数据,这可以根据需要需要 点击Display菜单可以根据需要修改每个单元格的显示格式

选择Communication...可以看到通信帧信息

Modbus poll还提供了一个实时绘图页面来帮助用户观察数据接收情况,一般情况下不需要,调试时直接观察通信帧一般就够了。

