REF:SCARA机器人结构优化设计与运动分析
1. 总体设计
各关节的传动方案最终确定如下:

机器人主要技术参数及工作空间如下:


2. 丝杠主轴
由于滚珠丝杠-花键为一体式结构,其沿Z轴上下的直线运动和绕Z轴的旋转运动存在耦合,对这两个运动是独立进行控制的,丝杠主轴运动实现的方式如下:

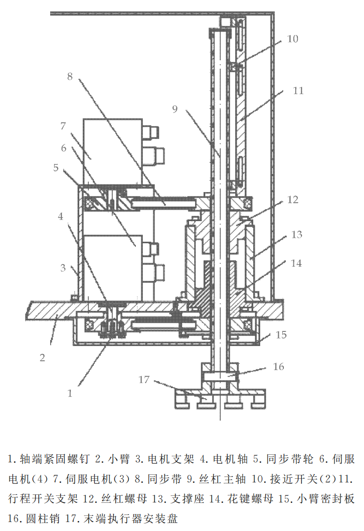
3. 滚珠丝杠-花键 核心结构图
滚珠丝杠-滚珠花键一体式结构,代替滚珠丝杠和滚珠花键的联合动作,滚珠丝杠-花键由丝杠螺母、花键螺母、丝杠三部分组成,两个螺母由电机通过同步带传动,同步轮分别固定在丝杠螺母和花键螺母的两端。
