REF:基 于SCARA 的柔性葡萄采摘机械臂设计与试验
01
整体介绍
机械臂主要分为 3个部分,分别为柔性机械臂部分 、 平台SCARA机械臂部分和额外增加的配重电池仓部分.

机械臂末端的活动范围,采用蒙特卡洛法对机械臂运行空间进行分析,即利用 MatLab 随机给定所有关节角度,通过正运动学计算出其末端坐标并在空间直角坐标系中标记出对应点的位置,如此反复给出足够多的点坐标,在 Visio 中绘制出所有点并形成一个空间区域,即可认为包含在区域内的任意一点都是机械臂的可到达范围。

02
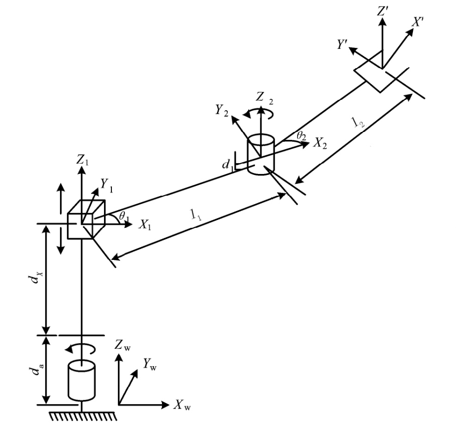
scara平台部分
SCARA机械臂作为柔性机械臂的平台机械臂,包含两个转台与一个丝杠机构,共 3 个自由度实现空间定位 ,大臂与小臂之间的偏移为 d 1 ,滑块与 SCARA 世界坐标系的垂直距离为 d x 与 d a 之和,大臂长为 l 1 ,小臂长为l 2 ,大臂与世界坐标系 X 轴夹角为 θ 1 ,小臂与大臂的延长线之间的夹角为 θ 2

03
柔性机械臂部分
柔性机械臂采用多节相同转动短关节垂直串联而成,并具有较高的自由度,每个关节的长度为 70 mm ,实际安装尺寸为两转轴间距70 mm ; 因末端执行器包括电机与切割部分,实际尺寸为 200 mm,柔性机械臂 D H 表如下:


04
运动分析
随机取初始位置关节角度 q 1 ( 0 , - π /6 ,0 , - π /3 ,0 ,0 ,0 ,0 ) 和目标位置关节角度 q 2 ( - π /3 , - π /4 , -2 π /7 , π /5 , π /6 , - π /5 ,π /4 , π /3 ) 。 采用微分方法,将每个关节的运动范围分成 100 个步,每步都在图中绘制一个点,最终将这 100 个单独的点用曲线相连,绘制出各个关节的角速度及角加速度如下:

